gayxxoo,在线观看免费p片视频网站地址,亚洲欧洲久久,91精品综合视频,国产在线高清理伦片a,亚洲国产精品国自产拍av,国产在人线免费视频精品

?L2KQF£­WÐͲٿvšâéy

ÓÃ;ÅcÌØÕ÷:
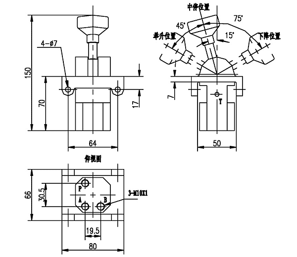
¡¡¡¡ÎÒ¹«Ë¾žéÝdÖØ×ÔжÆû܇(ch¨¥)é_(k¨¡i)°l(f¨¡)µÄ2KQF-WÐͲٿvšâéyÖ÷ÒªßmÓÃÓÚÝdÖØÆû܇(ch¨¥)µÄ×ÔжҺ‰ºÏµ½y(t¨¯ng),ÓÃÓÚ¿ØÖÆ“QÏòéyµÄ„Ó(d¨°ng)Á¦šâÔ´¡£
¡¡¡¡®”(d¨¡ng)ÊÖ±úÔÚ¡°ÖÐÍ£¡±Î»ÖÕr(sh¨ª), P¿ÚêP(gu¨¡n)é], A¡¢B¿Ú²»¹¤×÷£»®”(d¨¡ng)ÊÖ±úÔÚ¡°ÅeÉý¡±Î»ÖÕr(sh¨ª),P¿ÚÅcA¿ÚÏàͨ,B¿Ú²»¹¤×÷£»®”(d¨¡ng)ÊÖ±úÔÚ¡°Ï½µ¡±Î»ÖÕr(sh¨ª)£¬P¿ÚÅcB¿ÚÏàͨ£¬P¿ÚÅcA¿ÚÏàͨ,A¿Ú²»¹¤×÷¡£
ˆDÐηûÌ–(h¨¤o)£º

¼¼Ðg(sh¨´)…¢”µ(sh¨´)£º

ÍâÐμ°°²ÑbßB½Ó³ß´ç£º